Reminded by the Instruments: David Tudor's Music
BY YOU NAKAI | 760 Pages | 300+ illustrations | OXFORD UNIVERSITY PRESS, 2021
BOOK
MATRIX MAP
DIAGRAMS
INSTRUMENTS
TRANSCRIPTS
N
O
T
E
S
A selection of Tudor’s instruments archived as part of the World Instrument Collection at Wesleyan University
(limited to boxes specifically discussed in the book, and excluding commercial guitar pedals).
Instrument names are followed by their archive number assigned by Matt Rogalsky and the year Tudor obtained or began using them.
Sources and related materials are included when these have been identified.
Most of the research on these instruments was conducted in collaboration with Michael Johnsen.
All photos taken by You Nakai.
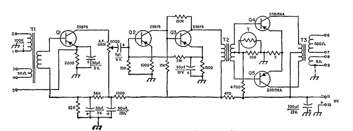
AA-100 AMPLIFIER [0466] | DAVID TUDOR (ROUNDHILL KIT) | 1968
AA-100 AMPLIFIER [0466] | DAVID TUDOR (ROUNDHILL KIT) | 1968
AA-100 AMPLIFIER [0466] | DAVID TUDOR (ROUNDHILL KIT) | 1968
AA-100 AMPLIFIER [0466] | DAVID TUDOR (ROUNDHILL KIT) | 1968
AA-100 AMPLIFIER [0466] | DAVID TUDOR (ROUNDHILL KIT) | 1968
<
>
BACK TO THE LIST